软管直角接头 您现在所在的位置:首页 >> 产品展示
0703 扣式护线套

 

材质:UL合格之NYLON66(黑色),防火等级94V-2
用途:使粗劣的铁孔变成圆滑的出线孔。各种电线电缆之保护及绝缘。
用法:不需工具,只要用手轻轻一压,即可完成装配。
适合用0.8mm到3.2mm之铁板

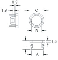
型号

机板孔径

尺寸B

尺寸C

尺寸L

Part No.

Panel Dia A

Dimension B

Dimension C

Dimension L

SB-0508
SB-0610
SB-0812
SB-1216
SB-1420
SB-1722
SB-2025
SB-2430
SB-2938

7.8
9.5
12.7
15.9
19
22.2
25.5
30
38.1

5.2
6.3
8
12.7
14.3
17.5
19.1
24.1
29

9.4
12
14.2
18.6
21.7
24.2
28.5
33.3
41.2

8
10.3
10.3
10.3
10.3
11.5
11.5
11.5
11.4

 

 

[ 返回 ]  

 

Copyright © 2014-2015 常州市华恒电器塑料有限公司, All Rights Reserved 苏ICP备14043321号-1 [网站管理] 技术支持:领艺科技